2023年07月15日美国专利局新申请AR/VR专利摘选

  文章相关引用及参考:映维网Nweon

  一共更新了57篇专利。

  (映维网Nweon?2023年07月15日)近期美国专利及商标局公布了一批全新的AR/VR专利,以下是映维网的整理(详情请点击专利标题),一共57篇。更多专利披露请访问映维网专利板块https://patent.nweon.com/进行检索,你同时可以加入映维网AR/VR专利交流微信群(详见文末)。

  1. 《Magic Leap Patent | High accuracy displacement device(Magic Leap专利:高精度移位设备)》

  

  在一个实施例中,专利描述了用于工具的高精度移位设备,亦即一种用于调节工具的位置的设备。所述设备包括具有第一端和第二端,从第一端延伸到第二端的轴轴线的螺纹轴、致动螺纹轴、以及在轴线方向移动的马达。马达可操作地联接到螺纹轴。设备包括连接到摄像头的支架,以及连接到螺纹轴和支架的轴承组件。轴承组件允许托架相对于螺纹轴移动。支架的移动允许调整摄像头的位置。

  2. 《Magic Leap Patent | Surface appropriate collisions(Magic Leap专利:表面适用碰撞)》

  

  在一个实施例中,专利描述的系统和方法用于呈现与虚拟对象碰撞表面相关联的音频信号。虚拟对象和表面可与混合现实环境相关联。音频信号的生成可以基于来自麦克风的音频流和来自传感器的视频流中的至少一个。在一个实施例中,虚拟对象和表面之间的碰撞与表面的足迹相关联。

  3. 《Magic Leap Patent | Cross reality system with map processing using multi-resolution frame descriptors(Magic Leap专利:使用多分辨率帧描述符进行映射处理的跨现实系统)》

  

  在一个实施例中,每个帧可以表示为数字描述符,其能够识别具有相似内容的帧。对于分布式系统中的不同计算设备,描述符的分辨率可以基于图像比较中的模糊程度和/或设备的计算资源而变化。高分辨率描述符可以减少计算密集型消歧处理。

  4. 《Magic Leap Patent | Light-emitting user input device for calibration or pairing(Magic Leap专利:用于校准或配对的发光用户输入设备)》

  

  在一个实施例中,发光用户输入设备可以包括配置为接受用户输入的触敏感部分和配置为输出光图案的发光部分。光图案可用于协助用户与用户输入设备交互。示例包括模拟多自由度控制器、指示滚动或滑动动作、指示设备附近存在对象、指示接收通知、协助将用户输入设备与另一设备配对或协助校准用户输入设备。发光用户输入设备可用于向可穿戴设备提供用户输入。

  5. 《Magic Leap Patent | Outcoupling Grating For Augmented Reality System(Magic Leap专利:用于增强现实系统的耦出光栅)》

  

  在一个实施例中,目镜包括传播光线的波导,以及光学耦合到波导的衍射光学元件。衍射光学元件包括从波导的一个表面突出的多个第一脊。多个第一脊中的每个第一脊具有第一高度和第一宽度。衍射光学元件进一步包括复数个第二脊。复数个第二脊中的每一个从各自的第一脊突出,并且具有大于第一高度和小于第一宽度的第二高度和第二宽度。衍射光学元件配置为将入射到衍射光学元件的光束的一部分向眼球衍射。

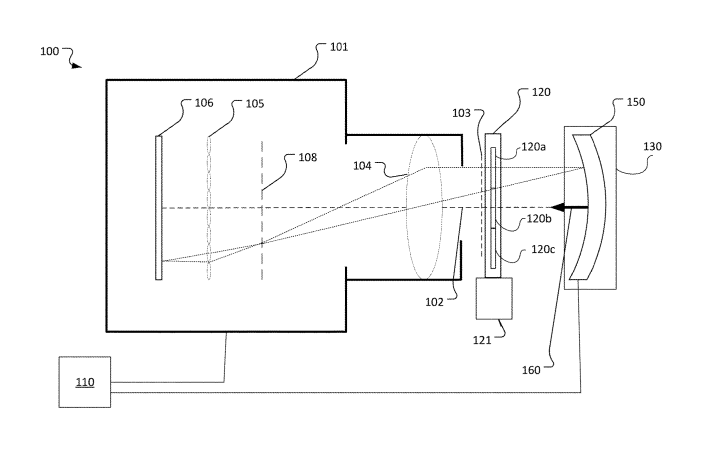
  6. 《Magic Leap Patent | Plenoptic camera measurement and calibration of head-mounted displays(Magic Leap专利:头戴式显示器的全光摄像头测量和校准)》

  

  在一个实施例中,专利描述了一种用于测量头戴式显示模块的性能的方法。所述方法包括相对于全光摄像头组件布置头戴式显示器模块,使得头戴式显示屏模块的出射光瞳与全光摄像头组合件的光瞳重合;在所述头戴式显示模块相对于所述全光摄像头组件布置的同时,从所述头装式显示模块发射光;对所述头戴式显示模块的出射光瞳处的光进行滤波;用所述全光学色相头组件获取从所述头戴式显示模块用所述过滤光投影的一个或多个光场图像;以及基于所获取的光场图像来确定关于头戴式显示模块的性能的信息。

  7. 《Meta Patent | Anode and cathode tab architecture for parallel connection of batteries(Meta专利:用于电池并联的阳极和阴极接线片架构)》

  

  在一个实施例中,专利描述的电池系统包括并联连接的多个电池单元。每个电池单元包括从两个相对侧中的每一个延伸的一对正极和负极接线片。电池系统同时包括一对或多对相邻的连接焊盘,每对连接相邻电池单元的正极和负极接线片。电池系统进一步包括平台部分。在并联连接的一端与电池单元的一侧相对应的正极接线片和负极接线片延伸到平台部分之上。放置在平台部分中的一对母线允许突出部的延伸。每个连接焊盘由柔性材料制成,从而允许相邻电池单元的正极和负极接线片围绕相应的连接焊盘弯曲。电池系统可以配置成各种形状。

  8. 《Meta Patent | Systems and methods for visually guided audio separation(Meta专利:用于视觉引导音频分离的系统和方法)》

  

  在一个实施例中,专利描述了一种用于基于声音产生对象分离音频的系统,所述系统包括配置为接收视频数据和音频数据的处理器。处理器同时配置为使用视频数据执行对象检测,以识别视频数据中的多个声音产生对象,并预测视频数据中检测到的每个声音产生对象的分离。处理器进一步配置为使用分离和音频数据为每个声音产生对象生成分离的音频数据。

  9. 《Meta Patent | Real-time image segmentation(Meta专利:实时图像分割)》

  

  在一个实施例中,专利描述的方法包括分别为视频中的第一系列图像和第二系列图像生成第一系列分割掩模和第二序列分割掩模。第一系列分割掩模是通过使用机器学习模型来生成,以基于第一系列图像中的第一图像和预定的固定分割掩模来生成第一分割掩模,以及基于第一序列图像中的第二图像和第一分割掩膜来生成第二分割掩模。第二系列分割掩模是通过使用机器学习模型来生成,以基于第二系列图像中的第三图像和预定的固定分割掩模来生成第三分割掩模,以及基于第三系列图像中第四图像和第三分割掩模来产生第四分割掩模。

  10. 《Meta Patent | Processing multimodal user input for assistant systems(Meta专利:为辅助系统处理多模式用户输入)》

  

  在一个实施例中,专利描述的方法包括在头戴设备处接收来自用户的语音输入和由头戴设备的摄像头捕获的视觉输入,其中视觉输入包括主题和与主题相关联的属性,并且其中语音输入包括对一个或多个主题的共同引用。基于所述属性和所述共同参考来解析对应于与所述共同引用相关联的所述主题的实体,并且在所述头戴式设备处呈现响应于所述语音输入和所述视觉输入的通信内容。其中,所述通信内容包括与对应于所解析的实体的任务的执行结果相关联的信息。

  11. 《Meta Patent | Calibration and use of eye tracking(Meta专利:眼动追踪的校准和使用)》

  

  在一个实施例中,专利描述的方法可以包括用于检测光的变化并确定眼球运动的发生的多用途传感器;配置为将覆盖眼睛起伏区域内的第一视场的图像投影到与透镜模块相邻定位,并配置为追踪第二视场内的眼球运动的摄像头的透镜模块(例如,波导);以及定位在摄像头前面的low-profile相位元件。

  12. 《Meta Patent | Transmissive optical element based on reflective volumetric gratings(Meta专利:基于反射体三维光栅的透射光学元件)》

  

  在一个实施例中,透射光学元件包括第一和第二反射体三维光栅,其通过反射衍射将第一波长范围内的入射光束从第一光栅重定向到第二光栅,并通过反射衍射从第二光栅重定向出透射光学元件。

  13. 《Meta Patent | Stabilization of titanium oxide films for highly transparent coatings(Meta专利:用于高透明涂层的氧化钛薄膜的稳定性)》

  

  在一个实施例中,用于涂覆表面浮雕结构的溶胶-凝胶材料包括钛前体和氧化钛稳定剂,氧化钛稳定剂包括R3OC(O)OR4、R5C(O)OR6或其组合。R3和R4包括任选含有羧酸盐、醇或酯官能团的烷基或烯烃基团,例如碳酸亚丙酯。R5和R6包括任选含有羧酸盐、醇或酯官能团的烷基或烯烃基团。在一个实施例中,将溶胶-凝胶材料在50-150°C之间的温度下退火,然后在200-300°C之间温度下退火。在一个实施例中,在200-300℃之间的温度退火之前,使用紫外线固化溶胶-凝胶材料。

  14. 《Meta Patent | Generating spatial audio and cross-talk cancellation for high-frequency glasses playback and low-frequency external playback(Meta专利:为高频眼镜播放和低频外部播放生成空间音频和串扰消除)》

  

  在一个实施例中,专利描述了使用可佩戴音频设备的扬声器和可佩戴音频设备外部的扬声器来呈现空间音频的系统。所述系统生成具有高频component和低频component的空间音频,同时生成用于空间音频的低频component的串扰消除滤波器。系统可以使用串扰消除滤波器提供用于经由可佩戴音频设备的扬声器呈现的高频component和用于经由外部扬声器呈现的低频component。系统使用个性化的耳间显示模型和/或头相关传递函数来生成空间音频或串扰消除滤波器。

  15. 《Meta Patent | Resilient rendering for augmented-reality devices(Meta专利:增强现实设备的弹性渲染)》

  

  在一个实施例中,专利描述了一种由渲染设备执行的方法,所述方法包括接收渲染与要同时显示在增AR头显的多个虚拟对象相对应的多个表面的请求;AR凸显经由无线链路连接到呈现设备;响应于确定无线链路的网络质量低于阈值条件,选择多个表面中优先级高于多个表面的第二子集的第一子集;将多个表面的第一子集发送到AR头显以供显示,以及在发送第一子集之后将多个面的第二子集发送到AR头显以供显示。所述方法进一步包括根据一组渲染参数来渲染表面,以便满足一个或多个网络约束。

  16. 《Meta Patent | Systems and methods for identifying biological structures associated with neuromuscular source signals(Meta专利:识别与神经肌肉源信号相关的生物结构的系统和方法)》

  

  在一个实施例中,专利描述了一种包括多个神经肌肉传感器的系统,每个神经肌肉传感器配置为记录来自用户身体表面的神经肌肉信号的时间序列;以及至少一个计算机硬件处理器。处理器编程来执行:将源分离技术应用于由多个神经肌肉传感器记录的神经肌肉信号的时间序列,以获得多个神经肌肉源信号和相应的混合信息;提供从多个神经肌肉源信号和/或相应的混合信息获得的特征,以作为训练的统计分类器的输入,并获得相应的输出;并且基于所训练的统计分类器的输出,对于所述多个神经肌肉源信号中的每一个或多个,识别一组相关的一个或多个生物结构。

  17. 《Microsoft Patent | Video pass-through computing system(微软专利:视频透视计算系统)》

  

  在一个实施例中,专利描述的一种视频透视计算系统包括包括显示器的头戴式显示设备、配置为根据曝光定时对物理场景进行成像的摄像头、配置为对物理场景成像的摄像头,以及增强现实控制电路。增强现实控制电路配置为接收虚拟图像像素流并将摄像头图像像素流与虚拟图像像素串合成以生成输出到显示器的显示图像像素流,并且如果摄像头图像像素流的对应像素与虚像像素流的像素不在时间上同步,则调整摄像头的曝光定时。

  18. 《Apple Patent | Methods for displaying user interface elements relative to media content(苹果专利:显示与媒体内容相关的用户界面元素的方法)》

  

  在一个实施例中,根据在其上显示字幕的媒体项目的部分的深度,计算机系统以不同的深度显示媒体项目的字幕。根据用户的注意力在相对于媒体项目的不同位置,计算机系统显示包括与媒体项目相关联的信息的用户界面元素。计算机系统显示用户界面元素。其中,用户界面元素包括与具有不同视觉外观的媒体项目相关联的信息,而视觉外观取决于在其上显示用户界面元件的媒体项目的部分的视觉特性。

  19. 《Apple Patent | User interface modes for three-dimensional display(苹果专利:用于三维显示的用户界面模式)》

  

  在一个实施例中,专利描述了用于应用程序的用户界面的各种用户界面模式。用户界面模式可以包括一个或多个有界模式、诸如独占模式的单个应用程序模式和/或一个或更多个全屏模式。在一个或多个实施例中,可以基于用户界面的用户界面模式来约束应用对各种类型的信息的访问。

  20. 《Apple Patent | Devices and methods for controlling electronic devices or systems with physical objects(苹果专利:用实物控制电子设备或系统的设备和方法)》

  

  在一个实施例中,第一电子设备检测到由于指示用户输入的物理环境中的一个或多个物理对象的移动而导致的第一电子设备的物理环境的变化。第一电子设备根据由于一个或多个物理对象在物理环境中的移动而导致的物理环境的变化,在第一电子设备处或在与第一电子设备通信的第二电子设备处执行第一动作。

  21. 《Sony Patent | Light-emitting element and display device(索尼专利:发光元件和显示设备)》

  

  在一个实施例中,专利描述的发光元件包括:发光部分;第一光路控制单元;第二光路控制单元;以及接合构件。所述接合构件介于所述第一光路控制单元和所述第二光路控制单元之间,其中所述第一光路控制单元的光轴与所述第二光路控制单元的光轴偏移。

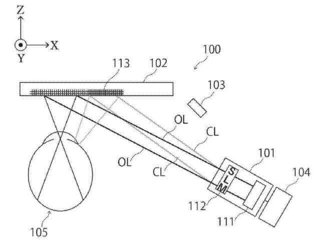
  22. 《Sony Patent | Image display apparatus and image display method(索尼专利:图像显示装置和图像显示方法)》

  

  在一个实施例中,专利描述的图像显示设备包括:光源部分,其发射用于显示图像的图像显示光OL和与图像显示光OL共轭的光CL;光学系统,所述光学系统将由所述光源部分发射的图像显示光OL投影到用户的眼睛的瞳孔上,并且将由所所述光源部件发射的共轭光CL投影到用户眼睛的瞳孔周围的部分上;检测器,其检测与由光学系统投影的共轭光CL相对应的反射光以从瞳孔周围的部分反射;以及控制器,其基于由检测器检测到的反射光来控制显示目标图像的位置。

  23. 《Sony Patent | Vr headset with integrated thermal/motion sensors(索尼专利:包括集成热能/运动传感器的VR头显)》

  

  在一个实施例中,专利描述了一种可由计算机游戏玩家佩戴的虚拟现实头显。所述设备包括位于VR头显外部的集成热传感器和/或运动传感器,以检测玩家附近是否存在其他人,然后可以向玩家的观看屏幕发送信号,从而警告玩家可能与他人发生碰撞。

  24. 《Sony Patent | Sequence stabalization of 3d point cloud frames using motion information(索尼专利:使用运动信息实现三维点云帧的序列稳定)》

  

  在一个实施例中,专利描述了一种使用运动信息对点云帧进行序列稳定的方法。电子设备接收包括对象图像的图像数据。图像数据对应于对象处于动态状态的持续时间。基于图像数据,电子设备生成点云序列并提取与对象相关联的运动信息。电子设备基于运动信息确定相对于第二点云帧的第二组3D点处于静止状态的第一点云帧中的第一组3D点。第一和第二点云帧是点云序列的连续帧。电子设备同时确定第一组3D点和第二组3D点之间的差,并基于该差更新第一点云帧。

  25. 《Sony Patent | Mixed reality optical system using micro phosphor and lens element array in a curved waveguide(索尼专利:在曲面波导中使用微磷光体和透镜元件阵列的混合现实光学系统)》

  

  在一个实施例中,专利描述的头戴式显示器包括一个带有双反射涂层/薄膜的曲面波导,并包含一组光波长转换磷光体针孔大小的圆盘,圆盘上覆盖着针孔大小的微透镜,并配置为AR/VR呈现宽视场虚拟图像。

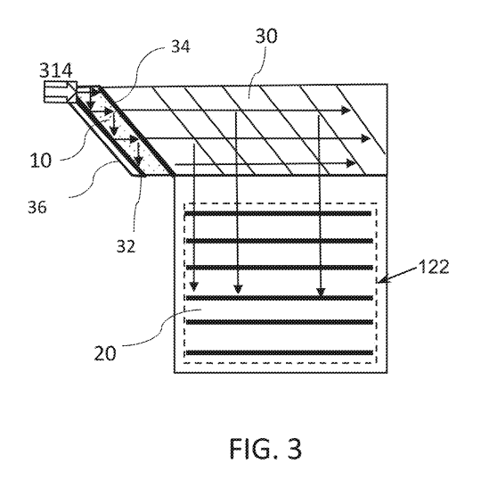
  26. 《Sony Patent | Display apparatus(索尼专利:显示装置)》

  

  在一个实施例中,专利描述的显示设备包括发光器件、微透镜阵列和扫描机制。发光器件包括多个第一发光像素和多个第二发光像素。微透镜阵列包括多个透镜,所述多个透镜将分别从已经入射的第一发光像素和第二发光像素发射的漫射光线分别投影到位于投影目标对象的期望不同位置处的第一到达位置和第二到达位置,所述多个透镜以大于所述发光像素的像素间距的间距布置。扫描机机制将从第一发光像素发射的漫射光线投射到第一到达位置

  27. 《Sony Patent | Information processing apparatus, display range decision method, and program(索尼专利:信息处理设备、显示范围决定方法和程序)》

  

  在一个实施例中,专利描述的信息处理设备包括显示范围决定单元,其配置为在将显示图像切换为能够从多个视点显示显示目标的多个视点图像时,从与切换源视点对应的切换源视点图像到与切换目的地视点对应的转换目的地视点图像,以基于所述转换目的地视角的视点位置信息来决定所述转换目标视点图像的显示范围。

  28. 《Sony Patent | Techniques for enabling high fidelity magnification of video(索尼专利:实现视频高保真放大的技术)》

  

  在一个实施例中,响应于在呈现第一视频时的缩放命令,将第二视频与第一视频组合并呈现。第一和第二视频是在基本相同的时间以基本相同的分辨率从彼此基本相同的camera位置生成。然而,第二视频是由具有比在生成第一视频中使用的视场小的视场生成。

  29. 《Sony Patent | Additional photographing necessity/unnecessity notifying apparatus, additional photographing necessity/unnecessity notifying method, and program(索尼专利:附加拍摄必要性/不必要性通知装置、附加拍摄必要/不必要通知方法和程序)》

  

  在一个实施例中,样本图像获得部分重复地获得通过由拍摄单元拍摄给定样本而生成的样本图像。特征量提取部分参考样本图像生成与样本图像相对应的特征量数据。特征量提取部分将多条特征量数据中的每一条分类为训练数据或评估数据。评估学习部分通过使用多条训练数据来执行评估鉴别器的学习。拍摄必要性/不必要性确定部分通过使用其中已经执行了使用多条训练数据的学习的评估鉴别器和多条评估数据来确定样本的附加拍摄的必要性/非必要性。通知部分发出关于是否需要添加的确定结果的通知。

  30. 《Sony Patent | Information processing apparatus, information processing method, and information processing program(索尼专利:信息处理设备、信息处理方法和信息处理程序)》

  

  在一个实施例中,专利描述的一种信息处理设备包括显示单元和控制单元。显示单元显示要叠加在用户视觉识别的现实空间上的虚拟操作对象。控制单元从现实空间中存在于用户周围的多个对象中确定要叠加操作对象的叠加目标对象、检测在显示操作对象的状态下用户的手的移动,并且在结合检测到的用户的手的移动来移动操作对象以接近叠加目标对象的同时将操作对象呈现给用户。

  31. 《Sony Patent | Information processing apparatus, information processing method, and program(索尼专利:信息处理设备、信息处理方法和程序)》

  

  在一个实施例中,专利描述的信息处理设备包括动态地改变与虚拟对象的显示相关的每个参数的控制部分。其中,参数根据表示图像的方法控制虚拟对象在每个显示设备上的显示。所述方法配置为将所述图像显示给显示与同一虚拟对象相关的图像的多个显示设备中的每一个。

  32. 《Sony Patent | 3d spatialisation of voice chat(索尼专利:语音聊天的3D空间化)》

  

  在一个实施例中,专利描述了在虚拟环境中智能定位语音的技术。在选择演讲的合适地点时,用户偏好、虚拟环境音频和/或视觉事件的位置、虚拟角色位置等因素都可以考虑在内。虚拟环境可以是游戏环境、会议环境、增强现实环境、虚拟现实环境等。

  33. 《Sony Patent | Information processing device, control method of information processing device, and program(索尼专利:信息处理设备、信息处理设备的控制方法和程序)》

  

  在一个实施例中,信息处理设备获得关于用户的每个指尖在真实空间中的位置的信息,并且确定在虚拟空间内设置的虚拟对象与用户手指之间的接触。信息处理设备将虚拟对象设置为部分变形状态,使得虚拟对象的一部分比手指离用户侧更远,并且在显示设备上显示虚拟空间中的具有对其设置的形状的虚拟对象作为图像。

  34. 《Google Patent | Real time object detection and tracking(谷歌专利:实时对象检测和追踪)》

  

  在一个实施例中,专利描述的方法包括检测在移动设备摄像头的取景器中描绘的一个或多个对象的存在。响应于检测到一个或多个对象的存在,将表示一个或更多个对象的图像数据发送到选择与图像中描绘的对象相关的内容的内容分发系统。在等待从内容分发系统接收内容时,追踪取景器中的一个或多个对象中的每一个的位置。从内容分发系统接收与一个或多个对象相关的内容。确定每个对象在取景器中的当前位置,并且在取景器内呈现与对象相关的内容。

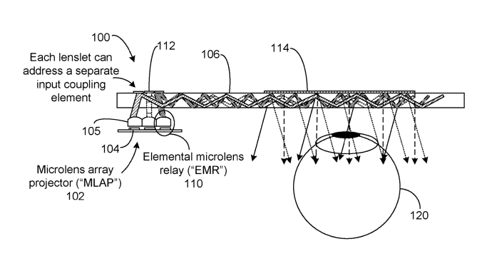
  35. 《Google Patent | Lenslet-based microled projectors(谷歌专利:基于Lenslet的微透镜投影仪)》

  

  在一个实施例中,专利描述的可佩戴显示系统包括微透镜阵列投影仪,微透镜阵列包括多个基本微透镜继电器EMR。多个EMR中的每个EMR包括包括多个像素的Micro LED显示器,并且配置为生成与图像相关联的光的子集。每个EMR同时包括微透镜,微透镜配置为接收来自微显示器的光的子集。系统同时包括光导、与光导光学耦合的耦入元件和与光导光学耦合的耦出元件。微透镜配置为将光的子集中继到耦入元件。耦入元件配置为将光的子集耦入到光导中。耦出元件配置为在沿着光导的多个相应位置输出光子集的部分。

  36. 《Qualcomm Patent | Volumetric sampling with correlative characterization for dense estimation(高通专利:用于密集估计的具有相关特征的体三维采样)》

  

  在一个实施例中,专利描述了用于执行一个或多个帧的光流估计的系统。例如,过程可以包括确定与多个帧相关联的光流预测;确定与第一帧相关联的至少一个特征的位置,并且基于该至少一个特征在第一帧中的位置和光流预测来确定用于在第二帧中搜索该至少一种特征的搜索区域的位置估计;从搜索区域内确定至少一个特征在第二帧中的位置。

  37 《Qualcomm Patent | Systems and methods of media processing(高通专利:媒体处理系统和方法)》

  

  在一个实施例中,专利描述的媒体处理系统接收表示由图像传感器捕获的环境的图像数据。媒体处理系统接收在图像数据中表示的环境中的对象的指示。媒体处理系统将图像数据划分为多个区域,包括第一区域和第二区域。对象表示在多个区域中的一个区域中。媒体处理系统基于在多个区域中的一个区域中表示的对象来修改图像数据以遮蔽第一区域而不遮蔽第二区域。媒体处理系统在修改图像数据之后输出图像数据。

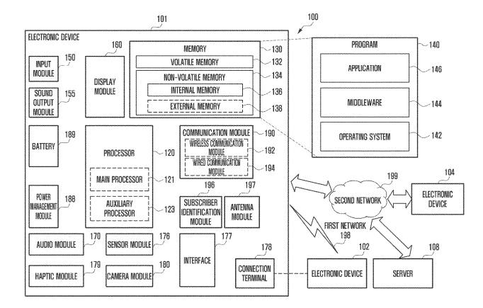
  38. 《Samsung Patent | Electronic device and server for determining user’s position-related information(三星专利:用于确定用户位置相关信息的电子设备和服务器)》

  

  在一个实施例中,专利描述的电子设备包括摄像头、显示器、存储器、位置定位电路以及可操作地耦合到该摄像头、该显示器、该存储器和该位置定位电路的至少一个处理器。其中,至少一个存储器可以通过位置定位电路来确定用户的第一位置和第一方向,从地图数据库获得关于所述第一位置的周围信息,基于所述周围信息从所述地图数据库生成包括参考目标的扫描请求信息,在所述显示器显示捕获指南,使得通过使用所述扫描请求信息用所述摄像头捕获与所述参考目标相对应的捕获目标,通过使用所述捕获目标和所述参考目标来确定第二位置和第二方向,并且在所述显示器显示所述第二位置以及所述第三方向。

  39. 《Samsung Patent | System and method for outputting augmented reality contents through wearable device and mobile device(三星专利:通过可穿戴设备和移动设备输出增强现实内容的系统和方法)》

  

  在一个实施例中,专利描述的可穿戴设备包括空间信息,空间信息包括可穿戴设备的位置或可穿戴设备定向的方向中的至少一个,并且响应于从移动设备接收到第一图像数据的状态满足指定条件,设备将空间信息发送到移动设备。第一图像数据包括基于所述空间信息识别的第一对象。设备从所述移动设备接收与所述第一对象相关联的建模数据,并且响应于从所述运动设备接收到所述第一影像数据的状态不满足所述指定条件,基于所述建模数据生成第二图像数据,以及在所述显示器上显示所述第二图像数据。其中,所述第三图像数据包括与所述第一对象相对应的第一简化对象。

  40. 《Samsung Patent | Electronic device providing augmented reality and operating method thereof(三星专利:提供增强现实的电子设备及其操作方法)》

  

  在一个实施例中,专利描述的电子设备包括显示器、摄像头、存储器和可操作地连接到显示器、摄像头和存储器的至少一个处理器。基于经由摄像头获得的图像,至少一个控制器可以在显示器中显示包括至少一个书签对象的增强现实场景,可以接收用于增强现实场景的用户输入,并且响应于所述用户输入,在所述存储器中存储书签数据。其中,所述书签数据包括与所述增强现实场景相关联的信息或与所述至少一个书签对象相关联的信息中的至少一个。

  41. 《Samsung Patent | Electronic device for providing augmented reality content and operation method thereof(三星专利:用于提供增强现实内容的电子设备及其操作方法)》

  

  在一个实施例中,专利描述的电子设备包括:第一摄像头模块;用于显示增强现实内容的显示器;可操作地连接到所述第一摄像头模块和所述显示器的处理器;以及存储器,其可操作地连接到所述至少一个处理器并且存储指令和主眼校正信息。处理器执行电子设备的用户在主眼确定操作期间识别第一对象的第一位置的主眼确定运算;通过使用所述第一摄像头模块来识别所述第一对象的第二位置;将基于所述优势眼校正信息确定的第一校正值的点识别为选定点;并且在增强现实内容上选择与所选点相对应的第二对象。

  42. 《Samsung Patent | Methods and systems for interacting with 3d ar objects from a scene(三星专利:用于与3D AR对象交互的方法合系统)》

  

  在一个实施例中,专利描述了一种用于从场景生成3D模型增强的相关对象的方法。所述方法包括创建一个或多个3D对象并将3D对象放置到3D场景中;从场景中捕获对象,对所识别的对象执行粗略的语义分割,导出连接的轮廓,从至少一个外部和内部轮廓生成中间轮廓,并配置三维网格和纹理映射以生成所捕获对象的三维模型。

  43. 《Samsung Patent | Method and device for generating three-dimensional image by using plurality of cameras(三星专利:使用多个摄像头生成三维图像的方法和设备)》

  

  在一个实施例中,专利描述的方法包括:通过电子设备的第一摄像头获得第一图像,并通过电子设备第二摄像头获得第二图像;获得包括在所述第一图像中的像素的深度信息;基于所述深度信息,从所述第一图像识别第一层图像和第二层图像;基于所述第一图像和所述第二图像修复所述第一层图像的至少一部分;以及基于第二层图像和修复的第一层图像生成包括多个层的3D图像。

  44. 《Samsung Patent | Wearable device grouping and providing a plurality of application execution screens and method for controlling the same(三星专利:可穿戴设备分组并提供多个应用程序执行屏幕及其控制方法)》

  

  在一个实施例中,专利描述的可穿戴设备包括显示模块和至少一个处理器。处理器配置为控制显示模块以允许根据第一类型将第一应用程序的执行屏幕显示为虚拟对象,在检测到第一用户输入之后检测用于执行第二应用程序的第一用户输入,确定是否检测到用于请求允许将所述第二应用程序的执行屏幕包括显示在与所述第一应用程序的所述执行屏幕相同的组中的第二用户输入,并且基于结果,允许独立于或同时与所述第一应用程序的执行屏幕形成一个组,从而显示所述第三应用程序的运行屏幕。

  45. 《Samsung Patent | Waveguide architecture based on diffractive optical elements for augmented reality displays with a wide field of view(三星专利:用于宽视场增强现实显示器的基于衍射光学元件的波导结构)》

  

  在一个实施例中,专利描述了一种具有衍射光学元件的平面波导以及基于这种平面波导的显示器;在波导中执行的衍射光学元件的结构以及用于操作衍射光学元件结构;消除图像色散和扩展水平视场的方法;以及一种用于操作衍射光学元件的架构、扩展垂直视场的方法、以及一种用于显示包含所提出的衍射光学元件架构的增强现实的设备。

  46. 《Samsung Patent | Polarizing film for 3d hud and display device for 3d hud including the same(三星专利:用于3D HUD的偏振膜和包括所述偏振膜的3D HUD显示设备)》

  

  在一个实施例中,专利描述了一种用于3D平视显示器HUD的偏振膜和包括所述偏振膜的3D HUD装置。其中,偏振膜包括偏振层、在该偏振层的第一表面上的第一保护层和在与该第一表面相对的偏振层的第二表面上的第二保护层。

  47. 《Samsung Patent | Display device, augmented reality device including display device, and method of manufacturing display device(三星专利:显示设备,包括显示设备的增强现实设备,以及制造显示设备的方法)》

  

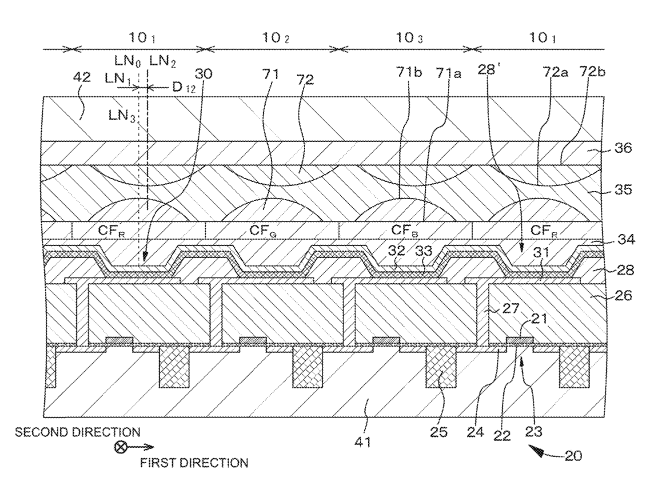
  在一个实施例中,专利描述的显示设备包括:包括第一半导体层的多个发光元件,所述多个发光元素中的每一个包括设置在所述第一半导体层下方的第二半导体层,和介于所述第一半导体层之间的有源层;从所述第一半导体层延伸的多个分隔壁;以及多个颜色转换层,其与所述多个发光元件相对应地设置在所述多个子发光元件上,并且通过多个分隔壁彼此间隔开。所述多个颜色转换层中的每个颜色转换层包括堆叠在所述第一颜色转换层上的第一色彩转换层和第二色彩转换层。

  48. 《Samsung Patent | Device and method to calibrate parallax optical element for temperature change(三星专利:针对温度变化校准视差光学元件的设备和方法)》

  

  在一个实施例中,专利描述的电子设备包括显示器、配置为将与从显示器输出的图像相对应的光提供给用户视窗的视差光学元件、配置用于测量视差光学元件周围的温度的温度传感器,存储器。储存器配置为存储用于确定视差光学元件的参数的不同温度范围中的校正信息的多个参数校准模型。电子设备进一步包括处理器,所述处理器配置为基于所述多个参数校准模型中的与测量温度相对应的参数校准模型来确定与测量温度对应的校正信息,并且基于所述校正信息来调整视差光学元件的参数。

  49. 《HTC Patent | Indoor space positioning method and indoor space positioning system(HTC专利:室内空间定位方法及室内空间定位系统)》

  

  在一个实施例中,专利描述的室内空间定位方法包括使用头戴式显示器中的摄像头捕获初始图像,并使传输接口能够从服务器下载与初始图像相对应的初始共享地图。头戴式显示器中的处理器将头戴式显示器定位在室内空间中的初始位置。

  50. 《HTC Patent | Method for adjusting virtual object, host, and computer readable storage medium(HTC专利:调整虚拟对象、主机和计算机可读存储介质的方法)》

  

  在一个实施例中,专利描述的方法包括:获得虚拟世界的第一视场;获得摄像头的第二视场,其中第一物理对象位于所述摄像头的所述第二视场内;基于所述第一视场和所述第二视场来确定视场比率;确定虚拟世界中第一虚拟对象相对于虚拟世界中参考对象的第一位置,其中第一虚拟对象对应于第一物理对象;基于所述第一位置和所述视场比率来确定所述第一虚拟对象在所述虚拟世界中的第二位置;以及示出在虚拟世界中的第二位置处的第一虚拟对象。

  51. 《HTC Patent | Map optimizing method, related electronic device and non-transitory computer readable storage medium(HTC专利:映射优化方法、相关电子设备和非瞬态计算机可读存储介质)》

  

  在一个实施例中,专利描述的方法包括:从映射中识别分别基于第一标记和第二标记生成的具有第一估计坐标的第一映射点和具有第二估计坐标的第二映射点;根据所述第一估计坐标和所述第二估计坐标,生成由虚拟姿态控制的虚拟camera,并且所述虚拟camera具有在第一相交坐标和第二相交坐标相交的光轴,所述第一相交坐标与第二相交座标彼此相隔所述距离值中的一个,其中所述虚拟camera提供指示分别在所述第一和第二相交坐标处观察到所述第一标记和所述第二标记的虚拟帧;以及执行全局束调整以优化地图,包括调整第一和第二估计坐标以减少根据真实关键帧和虚拟帧计算的重新投影误差之和。

  52. 《Snap Patent | Augmented reality anamorphosis system(Snap专利:增强现实变形系统)》

  

  在一个实施例中,变形系统配置为识别空间的特征集合,确定特征集合的相对位置,基于特征集合的相关位置确定移动设备在空间内的视角,基于移动设备的位置检索变形媒体,并且将变形媒体应用于移动设备处的空间的呈现。变形媒体可以包括诸如图像和视频的媒体项目,其配置为使得媒体项目仅从一个或多个指定视角可见。变形媒体可以包括投影到空间的表面上的风格化文本串,使得当从指定的视角通过用户设备观看时,风格化的文本串可以正确地显示。

  53. 《Snap Patent | Virtual vision system(Snap专利:虚拟视觉系统)》

  

  在一个实施例中,基于情景的增强现实系统可以用于在客户端设备上的实时视频馈送上显示增强现实元素。增强现实元素可以基于客户端设备生成的多个情景输入来选择。情景输入可以包括客户端设备的位置数据和具有预配置的增强元素的附近物理场所的位置数据。预配置的增强元件可以预配置为呈现相应物理位置的设计方案。

  54. 《DigiLens Patent | Methods and apparatuses for providing a holographic waveguide display using integrated gratings(DigiLens专利:使用集成光栅提供全息波导显示器的方法和设备)》

  

  在一个实施例中,专利描述的设备包括波导显示器和第一波导,波导显示器包括光源,第一波导包括包括第一光栅和第二光栅的光栅结构,以及配置为耦合光的第一视场部分和耦合光的第二视场部分的耦入器,其中,所述第一光栅配置为在第一方向上为所述第一视场光部分提供光束扩展,在第一方向提供光束扩展并且在第二视场光部分向观看者提供光束提取,所述第二光栅配置成在第二方向上为第二视场光部分提供光束扩展,并且为光的第一视场部分提供在第二方向上的光束扩展和朝向观看者的光束提取。

  55. 《Lumus Patent | Optical system for directing an image for viewing(Lumus专利:用于引导图像进行观看的光学系统)》

  

  在一个实施例中,专利描述的光学系统包括具有支持内反射的三个表面的部分内反射矩形光导(PRLG)和与第二光导部分相关联的部分反射第四表面;通常包括光导部分中的一组嵌入的部分反射表面,以及将从PRLG出射的光重定向到第三光导部分的光束重定向设备。第三光导部包括耦合输出配置,例如另一组部分反射表面,以将图像的光束耦合输出到用户的眼睛。

  56. 《Valve Patent | Variable optical correction using spatially varying polarizers(V社专利:使用空间变化偏振器的可变光学校正)》

  

  在一个实施例中,专利描述的光学系统包括包括一个或多个空间变化偏振器的校正部分。一个或多个空间变化偏振器的第一空间变化偏振器具有第一控制输入,所述第一控制输入配置为接收指示第一空间变化偏振器是激活的还是非激活的第一控制信号。当激活时,第一空间变化的偏振器用于对通过校正部分的光提供第一光学校正。光学系统包括控制器,其配置为确定是否对通过校正部分的光实施第一光学校正,并响应于确定对通过校正部分的光实施第一光学校正,输出指示第一空间变化的偏振器将被激活的第一控制信号。可以控制附加的空间变化偏振器以提供附加的或替代的光学校正。

  57. 《Vuzix Patent | Swim ar goggles(Vuzix专利:AR泳镜)》

  

  在一个实施例中,专利描述的AR泳镜具有左眼覆盖物和右眼覆盖物,每一个都具有相应的透明窗口。透明窗口定义了视野,并且每一个都进一步具有在透明窗口和游泳者面部之间延伸并形成以排除水的密封。近眼显示器与图像处理器进行信号通信,并在左眼或右眼视野中形成虚拟图像。