1名密接者曾在东莞活动!东莞疾控最新提醒……

  1月15日,惠州石湾镇通报密切接触者活动轨迹,1月12日该名密接者曾到过东莞,如在以下时间段有到过相关区域与密接人员存在同时空接触的,请按相应要求自觉落实防控措施并尽快开展1次核酸检测。

  1名密接者曾在东莞活动!这些人快去核酸

  1月15日博罗县石湾镇通报密切接触者活动轨迹

  现公布深圳通报的两名新冠病例的密切接触者在我镇的活动轨迹排查情况,如在以下时间段有到过相关区域与密接人员存在同时空接触的,请按相应要求自觉落实防控措施并尽快开展1次核酸检测。

  

  请有上述相关活动经历的市民按照防疫要求,就近到核酸采样点接受采样检测,戴好口罩,避免乘坐公共交通工具,告知医务人员你与上述对应时间段的接触地点。

  为了做好疫情防控工作,请各位市民积极配合,以便做到精准管控,防患于未然。大家无须恐慌,不信谣、不传谣。

  博罗县石湾镇新冠肺炎疫情防控

  工作领导小组办公室

  2022年1月15日

  珠海全市旅游景区景点暂停营业

  今天,珠海市新型冠状病毒肺炎疫情防控指挥部发布以下通告:

  一、全市旅游景区景点暂停营业。

  二、香洲区区域范围内餐饮场所取消堂食。

  三、其他区(功能区)餐饮业提供包厢、围桌服务应当实行分餐制,单桌人数减半,就餐人员间隔不少于1米,做好保洁、消毒、通风等要求,至少登记1名就餐人员身份及联系方式。

  本通告自发布之时起施行,并根据疫情进展、防控需要进行动态调整。

  确诊了,系奥密克戎!中山通报

  今天(1月16日15:30),广东省中山市召开发布会。据悉,1月15日,中山在密接隔离人员中,新发现1例无症状新冠肺炎病例,该名无症状感染者于16日出现发热等症状,诊断为新冠肺炎确诊病例(轻型)。

  此病例为中山1月13日报告病例李某的同车间同事,日常租住在坦洲镇龙塘前进二路,工作地为一知万食品公司,每天主要往返工作地与住所之间。

  目前流调和基因测序比对结果显示,中山病例和珠海公布的8例阳性个案均为奥密克戎变异株感染,且在同一传播链。

  东莞疾控最新提醒:这些人速报备

  今天,东莞疾控发布提醒:

  以下人员须主动报备:

  1月9日(含)以来途经辽宁大连市;

  1月9日(含)以来途经浙江杭州市;

  1月4日(含)以来途经上海静安区、普陀区、宝山区;

  1月3日(含)以来途经河南信阳市;

  1月1日(含)以来途经浙江金华市;

  12月30日(含)以来途经北京市海淀区(新增);

  12月31日(含)以来途经广东珠海市;

  12月31日(含)以来途经河南商丘市;

  12月30日(含)以来途经广东中山市;

  12月30日(含)以来途经上海市奉贤区;

  12月29日(含)以来途经上海市杨浦区;

  12月26日(含)以来途经浙江宁波市;

  12月25日(含)以来途经河南省安阳市;

  12月25日(含)以来途经天津市;

  12月20日(含)以来途经上海市浦东新区;

  12月20日(含)以来途经河南郑州市;

  12月19日(含)以来途经河南洛阳市;

  12月19日(含)以来途经河南许昌市;

  12月18日(含)以来途经河南周口市;

  12月16日(含)以来途经广东深圳市;

  12月12日(含)以来途经陕西延安市;

  12月6日(含)以来途经陕西咸阳市;

  12月6日(含)以来途经陕西西安市;

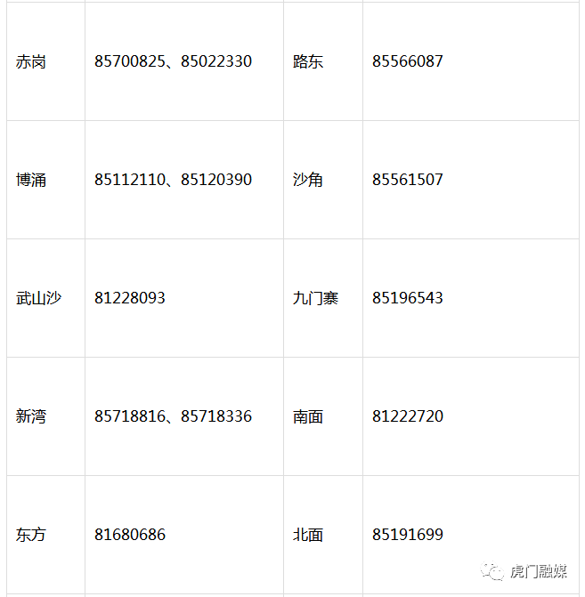
  下拉滑动,查看各镇街各社区报备电话

  ▼

  麻涌

  各村(社区)咨询电话

  麻一村:88822340

  麻二社区:88823413

  麻三村:88823093、88821962

  麻四村:88822554

  居委会:88821023

  东太村:88235438、88824509

  大步村:81210717

  新基村:88220110

  漳澎村:88822139

  川槎村:88821467

  黎滘村:88820868、88825710

  鸥涌村:88821574

  华阳村:88823421

  南洲村:88825662

  大盛村:88285080

  塘厦

  

  望牛墩

  

  谢岗

  厚街

  

  石碣

  莞城

  南城

  

  石排

  

  东坑

  

  桥头

  

  石龙

  石龙镇疫情防控指挥部联系电话:

  0769-86116982

  

  清溪

  

  高埗

  

  道滘

  

  黄江

  

  企石

  

  常平

  

  

  沙田

  

  虎门

  

  

  

  洪梅

  

  长安

  

  樟木头

  

  大朗

  

  茶山

  

  万江

  

  大岭山

  

  横沥

  

  中堂

  

  寮步

  

  凤岗

  

  东城

  

  重要提醒!

  离莞返莞要不要核酸检测?要不要隔离?全国中高风险地区有哪些?第三针疫苗在哪里接种?哪里可以做核酸检测?按照下面方式可以查看。

  第一步:扫描下面二维码,关注“这点莞事儿”公众号,已关注的直接打开即可。

  第二步:在“这点莞事儿”公众号底部菜单栏输入“疫情”,即可查看相关内容。

  东莞各镇街如何预约疫苗接种?

  第一步:扫描下面二维码,关注“这点莞事儿”公众号,已关注的直接打开即可。

  第二步:在“这点莞事儿”微信公众号对话框输入“疫苗”,点击“发送”,即可查看东莞各镇街、各社区疫苗咨询和预约电话。